|
电子管音频功率放大器,以其卓越的重放音质,广受HiFi发烧友的青睐。市售成品电子管功放动辄数千元,乃至上万元,如此高价是大多数爱好者无法企及的。爱好者说得好:“自己动手,丰衣足食”。只要你有一定的电子知识和一定的动手能力,自制一台物美价廉的电子管功放并非难事。电子管功放较之晶体管功放,看似庞大复杂,但当你了解了电子管电路的工作方式后,会发现,电子管劝放电路较之晶体管分立元件功放相对简洁,所用元件也少得多。除输出变压器自制有一定难度外,其他元器件只要选配得当,电路调试有方,一台靓声的电子管功放就会在你的手上诞生。
本章先对自制电子管功放的元件选配、安装程序、调试技巧及关键制作要领作一简要介绍。当你胸有成竹,跃跃欲试时,就可以动手操作了。
第一节 电子管功放的装配与焊接技巧
一、搭棚焊接方式
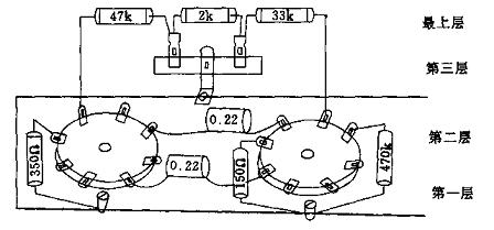
国内外许多著名的电子管功率放大器过去和现在均采用搭棚式装配焊接方式。因为,搭棚式接法的优点是布线可走捷径,使走线最近,达到合理布线。另外,电子管功放的元件数量不多,体积较大,借助元件引脚,即可搭接,减少了过多引线带来的弊病。只要布局合理,易收到较好的效果。图8—1为搭棚式接法示意图。
搭棚式接法一般将功放机内的各种元器件分为3—4层,安装元件的步骤是由下而上。接地线与灯丝走线一般置于靠近底板的最下层,其地线贴紧底板,并保持最好的接触;第二层多为各电子管阴极与栅极接地的元器件。注意同一管子阴极与栅极的相关元件接地最好就近在同一点接地;第三层是各放大级之间的耦合电容等元件;最上层则为以高压架空接法连接的阻容等元件。高压元件置于上层可以有效地防止高压电场对各级电路造成的干扰。
二、关于一点接地
一点接地,在电子管功放电路的布线中是一项值得重视的措施。图8—2为一点接地示意图。
对于输入级与电压放大级的元件接地问题尤为重要。需要实行一点接地的元件,主要有栅极电阻、阴极电阻与旁路电容等。最好仅用元件引线直接焊接,尽量不使用导线,否则极易产生交流杂声干扰。
栅极电阻敏感性最强,因此对前级功耗很小的栅极电阻,其体积越小越好,可采用0.25-0.5w的小体积电阻为宜。其电阻一端应直接焊接在管座上;另一端直接通地。如果因元件尺寸或位置关系,难以做到同一点接地时,亦可就近接在同一根粗的地线上。图8—3为近端接地示意图。

三、焊接要领
由于电子管功放的零部件尺寸较大,而且接地线又与金属底板直接相通,焊接时的散热性较强,所以在焊接时必须采用50W左右的内热式电烙铁才能保证焊锡的充分熔化。而一般用来焊接晶体管元件的25W左右电烙铁热量不够,容易产生假焊或脱焊等现象。
焊接时所使用的助焊剂,应该采用松香或一级的中性焊剂,避免使用酸性助焊剂。因为酸性焊剂不但有腐蚀作用,而且会引起电路漏电现象。
对一般元件的焊接,其电烙铁与元件间最好保持45度左右的倾斜角,这样接触面较大,热量均匀,容易焊牢。其焊接时间一般应保持1—2秒为宜,时间过长容易损坏元件;接地线的焊接时间可适当加长一些;
元件焊上支架前应先将元件引线在支架绕牢,或穿进孔内勾牢,然后再进行焊接。对于元件,在焊接前必须将引脚表面氧化层用砂皮擦清,并镀好焊锡后再焊接。图8—4是管座与支架焊接示意图。
元件与地线进行焊接时,也必须将通地端与地线先绕牢,或者与焊片孔勾牢,然后再焊接。焊接时,烙铁接触焊点时间要稍长些,以确保焊牢。对需要进行调整的元器件,可暂时采用搭焊,待调试完毕后再绕住焊牢。图8—5是零件与地线焊接示意图。
对架空元件的焊接,可采用镊子或尖嘴钳夹住元器件,以免热量传导烫痛手指。焊接时可先将焊锡丝对准要焊部分,再用电烙铁边熔边焊,这样焊接质量最佳。图8—6是架空元件的焊接示意图。
焊锡丝的品质对焊接质量也有很大关系,一般的锡块和焊锡条最好不用,而采用1—3mm含松香芯的高纯度焊锡丝为宜;品牌胆机所采用的为含银2%的焊锡丝。
直流高压部分的分压电阻、降压电阻等,使用时发热量较大,因此必须采用架空接法,并将元件安置在最上层,以利于热量的散发。同时,还应注意有高压电流通过的导线不宜与其他栅极连线靠近或平行,最好使用不同颜色的接线、以示区别。而且导线的距离也不宜过长。
高压去耦电阻及电容必须靠近屏极电阻焊接,而电解电容的通地端与电源变压器高压接地端如相距较远时,还应加接优质通地线,以防止滤波电容器内的交流成分影响前级的电压放大管。图8—7是高压元件架空接法示意图。
支架与灯座间的过桥接法,主要解决跨度较长的屏极元件的耦合。电位差较大的元件,不要焊接在同一个支架上,以免产生不必要的干扰。图8—8是支架与管座间架空接法示意图。
各级电子管的屏极与栅级元件尽可能使之远离,后一级屏极回路的元件,切不可与前一级栅极元件相近或平行。
功放管屏极或栅极回路要串接的电阻,应直接焊接在电子管座的屏极或栅极接线片上,如电子管座上无空脚架空,可在最近距离内使用小支架,不宜再用较长导线相连接。图8—9为管座自架空接法示意图。
功放管屏极与帘栅极回路的接线一般不用支架,直接由灯座上接出,并以最短的距离穿过底板与输出变压器一次侧相连接,切不可用支架绕道而行。这样不但损耗增大,而且会影响前级放大器。
第二节 电子管功放的安装步骤
现代电子管功放除了声道分立的高档机型外,大都为合并式的立体声功放。下面即以立体声功放为例,介绍其安装程序。
按照事先设计好的地位,先将各种小零部件装上。如电子管管座、开关、电位器、输入与输出接线端子、插口、接线支架、接地焊片等逐一装好。
电子管灯座在安装时必须认清图示的方向,这样可保持走线距离最近。管脚识别,可将电子管管脚朝向自己方。功放管用瓷八脚灯座时,从中心对正缺口开始,按顺时针方向,分别为1→8号接脚;前级放大与推动管为九脚灯座时,从开档较大处开始,按顺时针方向,分别为1→9号接脚。特殊管座的管脚识别大都是在特定标志下按上述方法识别。
左、右声道输出变压器、电源变压器、阻流圈等因较为笨重,在安装焊接各种零件时,底板要四面翻动,容易损伤外表漆皮,应当在全部阻容元件和接线焊接完毕后,最后再装上。安装电源变压器与输出变压器时,必须在螺丝上加装弹簧垫片,使之不易松动,以防止变压器通电后与底板之间产生振动,从而引起涡流损耗与交流声。
1 合理的接地方式
电子管功放中的接地走线,对功故机的信噪比与电性能的优劣有重要影响。特别是在增益较高的多级放大器中,其接地走线的布局方式尤为重要。因为功放机中的接地线具有双重作用,既是直流电压与电流供给回路,又是音频信号的通路,其间通过的直流电压电流大小及交流信号的强弱亦不相同。
虽然用万用电表测量功放机内的所有接地回路,其阻值均为0Ω,但对交流信号而言,各接地通路之间仍存在着电位差。如果采用高频微伏表测量时,其间的电位差可达数微伏以上。在高增益的多级功放机中,如接地走线布局不当,在高增益的输入端如混入数微伏的交流杂波信号,经过多级放大器逐级放大后,将给功放机的信噪比带来极大的影响。
目前比较流行的接地方式有两种:母线接地方式与单点接地方式。
功放机的母线接地方式是采用直径为1-1.5M左右的粗裸铜丝或镀银铜丝作为接地母线,在功放机的底板上按照放大器的电子管位置就近顺序排列。一般由输入端子至第一级、再至倒相级、推动放大级、功率放大级,最后至电源变压器的接地端。接地走线的次序切不可前级与后级颠倒。立体声功放的接地走线必须左右声道严格分开,并各自按照顺序排列。同时必须注意输出端的大电流接地线切不可与输入端小电流接地线直接相通。图8-10为母线接地方式示意图。
单点接地方式一般使用在高增益放大器的输入级,或者当功放机中部分采用电路板时,其接地走线的原则也必须按照功放级的前后级顺序排列,切不可前级与后级颠倒。
单点接地方式所强调的是,每一级的通地必须接在同一接地点上(就是我们常说的“一点接地”),其中该级的栅极电阻、阴极栅负压电阻及旁路电容的通地尤为重要,两者之间不允许再有导线存在。因为导线难免存在电阻,它可能存在的电位差,对高灵敏的放大器来说,等于在放大管阴极与栅极之间串接了一个交流电源,经过逐级放大后,即会产生严重的交流声。
输入端子的屏蔽隔离层接地,也必须在前级放大管的同一接地点通地。外层屏蔽罩壳或输入端子外壳应与功放机外壳相通。图8—11是单点接地方式示意图。
单点接地方式与母线接地方式不是绝对分开的,一般可混合使用。如在高灵敏的前级采用单点接地方式,而在功放级、电源滤波级等处可采用母线接地方式。
对于带前置放大级的功放来说,其放大级数可达5—6级。这样在MIC传声器或AUX拾音输入端的灵敏度极高,可高达3—5mv。如果在输入端混入微弱的噪声电平,即使输入端噪音电平仅为0.01mv时,经多级放大后,如其有用信号输出电压从3mv增加到30v时、噪声电平亦会由0.01mv,被放大至0.1V。这样该功放的信噪比将近于50dB,会给输出信号造成极大的干扰。
(责任编辑:admin) |