最好的电子音响科技diy制作网站

haoDIY_音响电子电脑科技DIY小制作发明

当前位置: 主页 > 最新DIY >

从原理开始教你制作电子负载

时间:2017-08-01 15:14来源:数码之家 作者:ifm 点击:
声明:本文版权归作者ifm所有,未经作者授权,本文禁止以任何形式在除本站(www.mydigit.cn)以外的任何平台(包括但不限于各网站、论坛、博客、微博、公众号等)部分或全部地转载。文中电路图只供学习使用,未经作者授权,不得用于其它任何用途,否则将追究
声明:本文版权归作者ifm所有,未经作者授权,本文禁止以任何形式在除本站(www.mydigit.cn)以外的任何平台(包括但不限于各网站、论坛、博客、微博、公众号等)部分或全部地转载。文中电路图只供学习使用,未经作者授权,不得用于其它任何用途,否则将追究法律责任。

论坛里有很多人都做过电子负载,并且把只做过成和电路图发了出来,但是我发现一些问题,首先,文章中虽然给出了电路图,但是并没有说明为什么这样做,电阻的阻值该如何计算等;其次,大家都是用MOS管做电子负载,我不服,我就要用达林顿管做个电子负载,我就是这么任性,哼~~

下面讲解电子负载的原理,如果有讲的不对的地方,欢迎大家指出。

首先放出电路图,这个电路图和大家的原理图基本没什么区别,只是略有改动而已。(文中有几个图是我手绘的,大家凑合看)
从原理开始教你制作电子负载


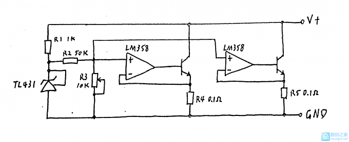
整个电路图可以分为两部分:左边由TL431做成的电压基准电路及右边由运放组成的反馈电路。

运算放大器是模拟集成电路中应用非常广泛的一种器件,使用运放我们可以做出各种电路:同相放大器、反相放大器、滤波器、积分其、微分器、加法器、减法器等。相信大家对运放接触的也比较多,这里只给出LM358的引脚图,其他的就不详细介绍了。
从原理开始教你制作电子负载


下面我们再来说一说反馈。

反馈就是将电路输出的电量(电压或电流)的一部分(或全部)通过反馈电路将其送回到输入端,以影响输入电量(电压或电流)的过程。

首先,根据反馈的效果不同可以将反馈分为两种:正反馈和负反馈。
正反馈:使净输入信号量比没有引入反馈时增加了,具有使系统振荡的效果。
负反馈:使净输入信号量比没有引入反馈时减少了,具有使系统稳定的效果。
我们当然是希望系统越稳定越好,因此实际使用中也多采用负反馈。

反馈电路根据反馈信号的取样方式的不同可以分为电压反馈和电流反馈。
根据输入端连接方式的不同可分为串联反馈和并联反馈。
因此一共有四种反馈类型:
电压串联反馈、电压并联反馈、电流串联反馈、电流并联反馈。

电压反馈具有稳定输出电压的作用,电流反馈具有稳定输出电流的作用。

我们制作电子负载一般是为了恒流放电,因此我们用运放组成了一个电流串联负反馈电路,如下图。
从原理开始教你制作电子负载


当输入Vi一定时,假设负载电阻RL增加使输出电流减小,引入负反馈后,它的调整过程是:
RL增加→io电流减小→vf电压减小(vf=io*Rf)→由于Vi恒定,因此Vid增加→io增加
RL减小时的反馈过程则正好相反。

我们知道电流负反馈的特点是维持输出电流基本恒定,这达到了电子负载恒流放电的要求,但是运放的输出输出能力有限,一般只有几十毫安,因此我们要想办法放大这个电流,所以我们将上图中的负载电阻RL换成了达林顿三极管来放大电流。

达林顿三极管实质是将前级晶体管的发射极电流直接引入下一级的基极,作为下一级基极的输入,他的放大倍数是两个三极管放大倍数相乘。我这里采用的是TIP122,它的热功耗上限是65W。如果手头没有达林顿管,可以选取两个放大倍数适当的三极管组成一个达林顿管,一般第一级采用的是小功率三极管,如9014等,第二级采用的是大功率三极管,如13005等。

这里给出TIP122的引脚图
从原理开始教你制作电子负载


查阅手册可知,TIP122的放大倍数是1000倍,假设我们的电子负载工作电流为0-5A,那么基极的输入电流为0-5mA,对于运放来说,输出这点电流还是没问题的。

当电流在0-5A范围内变化时,Rf(及电路图中的R4、R5)上电压Vf = I * Rf,为0-0.5V,由上面给出的反馈过程我们知道,只要Vi的变化范围只要在0-0.5V之内就可以了。当然Rf的阻值大家可以根据自己的需要进行适当调整。

现在就差个恒压源,我们的电子负载就算制作完成了。弄个恒压源其实很简单,比如LM7805、LM317、稳压二极管或者是一些稳压模块等。这里我采用的是TL431,如下图。
从原理开始教你制作电子负载
从原理开始教你制作电子负载


TL431的基准电压是2.5v,TL341做可调输出电压源的典型电路图如下。
从原理开始教你制作电子负载


这里我们只需要一个恒压源,设R2=∞,R1=0,则Vout = (1 + 0/∞) * Vref = 2.5v,也就等效于下图。
从原理开始教你制作电子负载



手册中说,要保证TL431正常工作,其2脚上的电流不能小于1mA,也不能超过100mA,否则可能损坏TL431,因此我们需要选择一个合适的电阻。

一般情况下我们设计的电子负载工作电压在3V-30V,设U = 3V, I = 1mA, 则R = U / I = 3 / 0.001 = 3000,也就是说如果工作在3V电压下,电阻不得超过3K欧。如果采用3K欧的电阻,30V电压下,电流为10mA,没有超过100mA,因此这个阻值是合适的。实际我图中的R1选取的是1K欧的电阻。

上面我们计算过,Vi最大是0.5V,这里我们来计算一下R2和R3的阻值,Vi即电阻R3上所分得的电压,设R2 = 50K欧,R3 = (Vi * R2) / 2.5 = 10K,也就是说R3的变化范围在0-10K之内即可。

————————我是一条分割线——————

好了,现在我们的电子负载的理论设计完成了,当然上面这都是理论计算,先用面包板搭出来验证一下。
从原理开始教你制作电子负载


从原理开始教你制作电子负载


好的,电路能正常工作,这证明我们的设计是没问题的。从图中看出单管时的最小电流为0.02A,不能从0开始,不过也没关系,自己随便做着玩玩,没必要那么专业,能用就行。

接下来只要焊接出来,就大功告成了。我设计的这个电子负载只是想随便测个移动电源什么的,所以功率不用太大,能到20W就足够了。不用像论坛里其他人那样做个上百瓦的。一个TIP122的上限是65W,我的散热也跟不上。

焊接过程略,简单给大家展示一下。背面开了两个孔,方便上螺丝。
从原理开始教你制作电子负载


从原理开始教你制作电子负载


正面再装个风扇,完工!!从原理开始教你制作电子负载


风扇的线我没整理,有点乱。



[ 此帖被ifm在2016-11-25 11:47重新编辑 ]
(责任编辑:admin)
织梦二维码生成器
顶一下
(0)
0%
踩一下
(0)
0%
相关文章
------分隔线----------------------------
发表评论
请自觉遵守互联网相关的政策法规,严禁发布色情、暴力、反动的言论。
评价:
表情:
用户名: 验证码:点击我更换图片
栏目列表
推荐内容