|
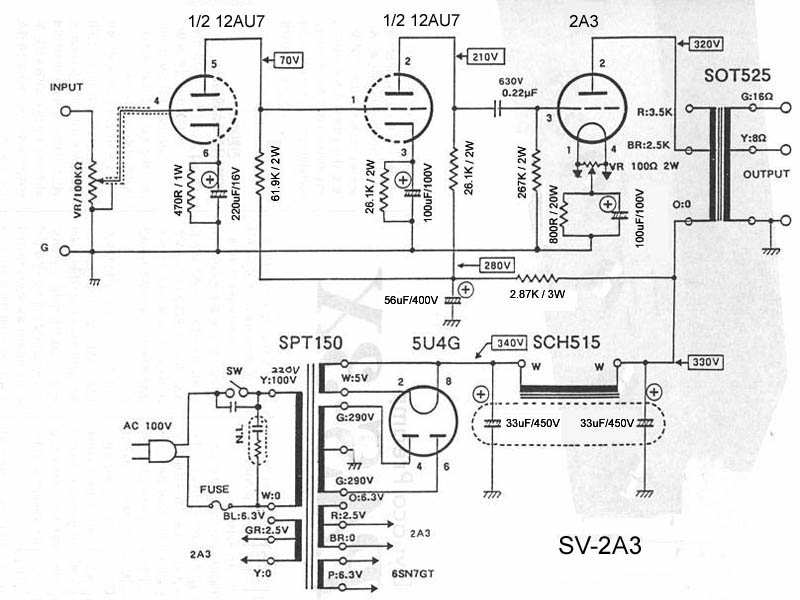
提起小功率胆机,相信大家都会联想起输出功率只有7W的300B胆机。事实上,300B并不是输出功率最小的胆机,2A3胆机的功率甚至只有它的一半――3.5W。 2A3真空管在上一世纪三十年代由美国RCA所开发。它是一支典型的直热式三极功率管,其内阻低、线性佳、频率响应宽阔,是一支非常优秀的真空管。在胆机的黄金时代里,它甚至比300B更为普遍。可惜的是,随着扬声器分音器越来越复杂,扬声器的效率也越来越低,人们开始追求更大功率的放大器,小功率管如2A3等便慢慢地淡出音响舞台。 最近,笔者书房里的Huston Mini 1998胆机一命呜呼、四脚朝天,于是开始寻找新的替代胆机。由于书房的空间不大,再加上以近距离的方式听音乐,因此灵机一动,何不给2A3胆机一个机会?于是立刻安排试听输出功率只有3.5W的Sun Audio SV-2A3胆机。 SV-2A3的面板上有两枚音量旋钮,可独立控制左右声道的音量。事实上,SV-2A3的内部并没有前级放大线路,这两枚音量旋钮主要是调控SV-2A3的输出增益。据Well Audio的老总Frankie透露,测试时所用的SV-2A3的增益线路已经过他修改。原因是原线路的增益并非线性,稍一调整音量,声音便会提升很多,很不好用。 我在八十年代曾试过不用前级,直接将CD的讯号直入功率放大器。乍听之下,觉得声音清晰无比;久听之后,便觉得声音轻飘飘的,没有重量,最后还是乖乖地用回前级。我很好奇在没有前级及只有3.5W的输出功率的情况下,SV-2A3究竟能有何作为? 测试时,发现SV-2A3在长煲之后,变压器非常烫手,大惊失色!于是马上致电Frankie查询。 据Fankie透露,烫手的原因是变压器线圈的绕组较少,因此热量较易散发出来。绕组少的好处是阻抗较低,音质自然更佳。虽然变压器的热量较高,但上升到一定的温度后,便保持不变,可以放心使用。 我书房里的系统很简单,CD机为Marantz CD6000SE Limited Edition,扬声器为ProAc Tablette 2000 Signature。讯号线为Harmonix HS-101,喇叭线为NBS Signature。 老友阿狂一路来对我书房里的系统有很深的成见,居然称它为“随便”牌系统!其实,在“随便”牌系统里,ProAc Tablette 2000 Signature是一对非常出色的扬声器,绝不随便!最便宜的是Marantz CD6000SE Limited Edition CD机,但其音乐感之丰富,绝对对得起它的价格。除此之外,年纪最大的要数Huston Mini 1998胆机,由于它的售价低于千元,在当年是最便宜的一部胆机,不会令你元气大伤。 测试SV-2A3时,阿狂刚好在场,“随便”牌系统除了将Huston Mini 1998换成SV-2A3之外,其他组合不变。 当乐声响起,阿狂一反平时对“随便”牌系统的不屑,一脸深沉地听完他所点播的CD,现场气氛凝重得令人窒息。忽然间,一语不发的阿狂狂性大发,起身将SV-2A3抱了就走,头也不回地打道回狂府。
此狂汉将SV-2A3独霸了两个多月,几乎搞到我要上门泼红漆、挂猪头及以血书“下楼还机”后,他才心不甘、情不愿地归还SV-2A3。而他为SV-2A3所作的狂白,已发表在最新一期(第51期)的《视听艺术》。
自从SV-2A3被阿狂掳走之后,“随便”牌系统虽然也随便接过几部胆机,但无论音色、音质及音乐气质都无法和SV-2A3相提并论,原来失去之后反而更了解它的魅力。 经过了两个多月的无声期,我的书房里终于又响起了醉人的音乐。 在我的书房里,将SV-2A3配搭ProAc Tablette 2000 Signature扬声器,音响有如水晶般地晶莹剔透。阿狂与SV-2A3相处了两个多月后,不得不承认以SV-2A3推Rogers LS3/5a LE扬声器,听Jennifer Warnes的Too Late Love Comes,那种欲语还休的无奈比用Marantz 7 & 9还要深情感人!如果你知道Marantz 7 & 9在音响界的江湖地位,那你便了解这句狂言的份量。 一般胆机最为人所垢病的是背景噪音较大,但在我的书房里,以近距离的方式听SV-2A3,完全没有令人烦噪不安的背景噪音,音乐背景静如深海。 测试SV-2A3的目的,原是为书房里的系统配搭一部胆机。不料SV-2A3的超凡表现令我震惊,也让我感到好奇,它的潜力究竟有多深?于是将SV-2A3转移到发烧房里,用监听系统一探它的实力。测试时,音源采用了CD机王Reimyo CDP-777,扬声器为Rogers LS3/5a Limited Edition,喇叭线为“烂线”(Bad Cable)。整套系统中,最便宜的就是SV-2A3。 ProAc Tablette 2000 Signature的阻抗是8 ohms,灵敏度为87dB,不算是容易推的喇叭;但Rogers LS3/5a Limited Edition的阻抗高达11 ohms,灵敏度只有82.5dB,与ProAc Tablette 2000 Signature相比之下,简直像只吸血鬼!我曾试过以一部数十瓦输出的胆石混合机推Rogers LS3/5a LE,声音有气无力,奄奄一息。如今将输出功率只有3.5W的SV-2A3配搭Rogers LS3/5a LE,简直是送羊入虎口! 当Paticia Baber的A Taste of Honey响起(FIM SACD 048),音响极为通透清澈,声音的密度很高,尤其是六弦琴的即兴演奏,气氛诡异迷人,音乐细节之丰富与活力,令人感叹时下许多系统将录音里的细节都耗损得面目全非,或许最好的前级就是没有前级!Paticia一开声,嗓音细致迷人,整体音响丰满,实在难以想像是出自一部只有3.5W的胆机。 不论听A Taste of Honey或Akiko Suwanai演奏的Variations on an original theme(Philips 454 480-2),都充分地反映了2A3真空管线性佳、频率响应宽阔的特性。它的音响流畅连贯,一气呵成,非常大气!小提琴的高频清脆悦耳得有如风铃般地飘逸,音乐表情异常丰富。论清晰度、结像度、通透度及空气感,很多胆机都要靠边站。 值得一提的是,无论听A Taste of Honey或Variations on an original theme,都是在一个舒适的音量下,若开得太大声的话,SV-2A3会因为过苛而产生失真,这是它局限。 测试SV-2A3时,所用的2A3是珍藏已久的RCA管。它的特色是低频饱满低潜,中频的能量及裕度更佳。相比之下,随机附上的SOVTEK 2A3管的高频较为秀气,但下盘较轻,中频也较单薄,有点搔不到痒处。若要将SV-2A3的潜力发挥得淋漓尽致,RCA管绝对省不了。 在同一监听系统里测试过的单端式胆机还包括了价格高达$35,000的Reimyo PAT-777,它所用的真空管为300B,其高频空灵轻盈,虽然它的输出功率比SV-2A3大了一倍。但论低频的力度、线条及弹性,300B却不是2A3的对手!在音响方面,300B给人一种小家碧玉的感觉,但2A3却是骨干鲜明,非常大气! 无论SV-2A3的表现何等优秀,区区3.5W的输出功率始终是它的宿命与局限。除非你用的是高灵敏度的号角喇叭,否则SV-2A3最适合听的还是一些小编制的乐曲及歌曲,茹毛饮血的爆棚佬可以不必考虑它。 Sun Audio SV-2A3其实是一个套件,其售价为$1700,你必需亲自动手将所有零件焊好之后才能够开声。Well Audio的老总Frankie特别提供焊机服务,工钱只收$100。据Frankie表示,这是纯手工作业,每天只能完成一部SV-2A3。若以每天八小时工作时间计算,他恐怕是工资最低的音响公司老总。 也许你应该趁他为自己加薪之前,先下手为强! ![]() |



























