|
1 弁言
步进电念头是一种将电脉冲信号转换成角位移或线位移的慎密执行元件,因为步进电机具有节制利便、体积小等特点,以是在数控体系、自动出产线、自动化仪表、画图机和计较机外围装备中获得普及应用。微电子学的敏捷成长和微型计较机的遍及与应用,为步进电念头的应用开发了辽阔远景,使得以往用硬件电路组成的复杂伟大的节制器得以用软件实现,既低落了硬件本钱又进步了节制的机动性,靠得住性及多成果性。市场上有许多现成的步进电机节制机构,但价值都偏高。应用SGS公司推出的L297和L298两芯片可利便的构成步进电机驱动器,并团结AT89C52单片机举办节制,即可以实现用相对自制的价值构成一本机能不错的步进电机驱动电路。 2 事变道理 因为步进电机是一种将电脉冲信号转换成直线或角位移的执行元件,它不能直接接到交直流电源上,而必需行使专用装备-步进电机节制驱动器 典范步进电机节制体系如下图所示:节制器可以发出脉冲频率从几赫兹到几十千赫兹可以持续变革的脉冲信号,它为环形分派器提供脉冲序列。环形分派器的首要成果是把来自节制环节的脉冲序列按必然的纪律分派后,颠末功率放大器的放大加到步进电机驱动电源的各项输人端,以驱动步进电机的动弹。环形分派器首要有两大类:一类是用计较机软件计划的要领实现环分器要求的成果,凡是称软环形分派器。另一类是用硬件组成的环形分派器,凡是称为硬环形分派器。功率放大器首要对环形分派器的较小输出信号举办放大.以到达驱动步进电机目标。
3 硬件构成 文中所节制的步进电机是四相单极式35BY48HJ120减速步进电念头。本文所计划的步进电机节制驱动器的框图如下图所示。它由AT89C52单片机、光电耦和器、集成芯片L297和L298构成。AT89C52是美国ATMEL的低电压、高机能8位CMOS单片机。片内置8K字节可一再擦写的 Flash闪速存储器。256字节RAM。3个16位按时器.可编程串行UART通道。对完成步进电机的简朴节制已足以胜任。 L297是步进电念头节制器(包罗环形分派器)。L298是双H桥式驱动器。它们所构成的微处理赏罚器至双桥式步进电念头的接口如下图所示。这种方法团结的利益是,必要的元件很少.从而使得装配本钱低,靠得住性高和占空间少。而且通过软件开拓。可以简化和减稍微型计较机的承担。其它,L297和L298都是独立的芯片.以是应用黑白常机动的。
L297芯片是一种硬件环分集成芯片.它可发生四相驱动信号,用于计较机节制的两相双极或四相单极步进电机 它的心脏部门是一组译码器它能发生各类所需的相序.这一部门是由两种输入模式节制,偏向节制(CW/CCW) 和HALF/FULL 以及步进式时钟CLOCK.它将译码器从一起线推进至另一起线。译码器有四个输出点毗连到输出逻辑部门,提供克制和斩波成果所需的相序。因此L297能发生三种相序信号,对应于三种差异的事变方法:即半步方法(HALF STEP);根基步距(FULL STEP,整步)一相鼓励方法;根基步距两相鼓励方法。脉冲分派器内部是一个3bit可逆计数器,加上一些组合逻辑.发生每周期8步格雷码时序信号,这也就是半步事变方法的时序信号。此时HALF/FULL信号为高电。若HALF/FULL取低电平,获得根基步距事变方法。即双四拍全路线事变方法。 L297另一个重要构成是由两个PWM 斩波器来节制相绕组电流,实现恒流斩波节制以得到精采的矩频特征。每个斩波器由一个较量器、一个RS触发器和外接采样电阻构成,并设有一个公用振荡器,向两个斩波器提供触发脉冲信号。图中,频率f是由外接16脚的RC收集抉择的, 当R>10kΩ 时,f=1/0.69RC。其时钟振荡器脉冲使触发器置1,电机绕组相电流上升,采样电阻的R 上电压上升到基准电压Uref时,比 较器翻转,使触发器复位,功率晶体管关断,电流降落,守候下一个振荡脉冲的到来。这样,触发器输出的是恒频PWM信号,调制L297的输出信号,绕组相电流峰值由Uref确定。L297的CONTROL端的输入抉择斩波器对相位线A、B、C、D或克制线INH1和INH2起浸染。CONTROL为高电平常,对A、B、C、D有节制浸染;而为低电平常,则对INH1和INH2起节制浸染,从而可对电念头转向和转矩举办节制。 L298芯片是一种高压、大电流双全桥式驱动器,其计划是为接管尺度TTL逻辑电平信号和驱动电感负载的,譬喻继电器、圆筒形线圈、直流电念头和步进电念头 具有两克制输入来使器件不受输入信号影响。每桥的三级管的射极是毗连在一路的,响应外接线端可用来毗连外设传感电阻。可安放另一输入电源,使逻辑能在低电压下事变。L298芯片是具有15个引出脚的多瓦数直插式封装的集成芯片。 图中.AT89C52通过串口经MAX232电平转换之后与微机相连.接管上位机指令。向L297发出时钟信号、正反转信号、复位信号及使能节制等信号。电路中,电阻R13,R15用来调理斩波器电路的参考电压,该电压将与通过管脚13,14所反馈的电位的巨细较量,来确定是否举办斩波节制,以到达节制电机绕组电流峰值、掩护步进电机的目标 因为L297内部带有斩波恒流电路,绕组相电流峰值由Uref确定。当回收两片L297通过L298别离驱动步进电机的两绕组,且通过两个D/A转换器改变每相绕组的Uref时,即构成了步进电机细分驱动电路。其它,为了有用地克制电磁滋扰,进步体系的靠得住性,在单片机与步进电念头驱动回路中操作两个16引脚光电耦合器件TLP521-4构成如图所示的断绝电路。其浸染是割断了单片机与步进电念头驱动回路之间电的直接接洽,实现了单片机与驱动回路体系地线的别离联接.防备处于大电流感性负载下事变的驱动电路发生的滋扰信号以及电网负载突变发生的滋扰信号通过线路串入单片机,影响单片机的正常事变。 4 软件构成 在该电路中,将P1.0口设为电机开始按钮,P1.1,P1.2,P1.3为速率选择按钮。速率由低到高,P1.4为电机遏制按钮。并设三档速率的最高速率依次为500pps、1000pps、2000pps 。RXD,TXD 已由MAX232电平转换接出串口。另外,步进电机其启动,遏制的频率较低,一样平常在100-250Hz之间,而最高运行频率要求较高。凡是为1-3kHz,为使其在启动、运行和遏制整个进程中,既不会失步,又可以或许尽快准确地到达方针位置,运行速率都要有一个加快一恒速减速的进程。这里回收常用的离散步伐来迫近抱负的近似梯形的起落速曲线,如下图所示。即操作按时器间断方法来不绝改变按时器装载值的巨细.
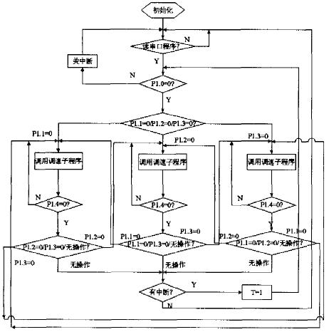
本例中.为计较利便,把各离散点的速率所需的装载值用公式转化为各自所需的按时时刻固化在体系的ROM 中,这里用TH0=(65536-time)/256,TL0=(65536-time)%256来计较装载值,time暗示各路线所需按时时刻。体系在运行顶用查表法查出所需的时刻,从而大幅度镌汰占用CPU的时刻,进步体系的响应速率。因此.该措施首要由节制主措施、加减速子措施构成,主措施框图如下图所示。
5 结论 本文创新点在于提出应用单片机和L297、L298集成电路组成步进电机节制驱动器。使之具有元件少.靠得住性高、占空间少、装配本钱低等利益。通过软件开拓,可以简化和减稍微型计较机的承担。其它。在上面提出的在加减速措施中按时器的装载值用式子计较不准确,这两条赋值要执行不少的时刻.详细做的时辰.可直接把初值计较出来或把除号用相加来计较.以到达准确的目标。 (责任编辑:admin) |




















