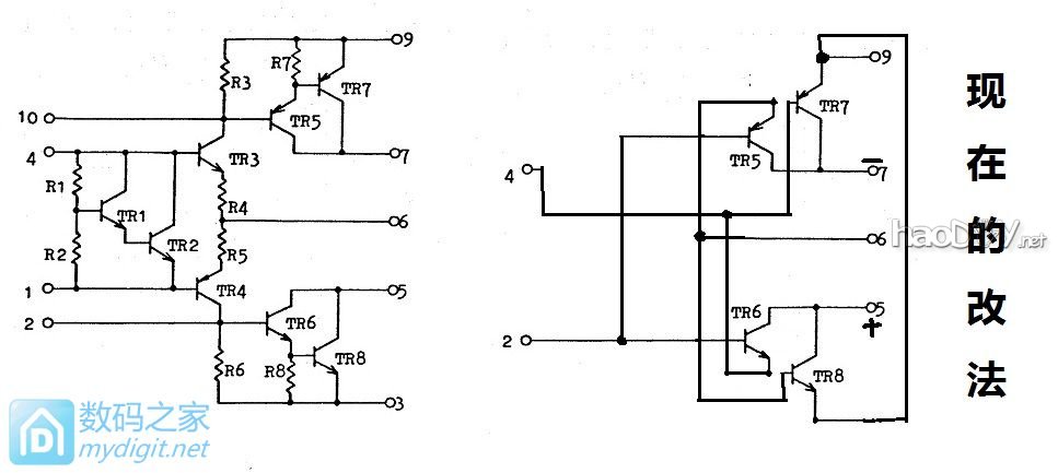
距离上次预告很久了,今天无聊开始改造,此板是10多年前买的一直未用,前阵心血来潮,想试试“胆结石”,于是拿6153来开刀,又不想电路太复杂,就寻思做交叉耦合射极输出![]() 散热片下面就是STK6153了,借@lbpcwd 坛友的图:http://bbs.mydigit.cn/read.php?tid=279534
要把6153改成这个样子的电路。因为胆输出有隔直电容,所以中点电位是非常稳定的
用美工刀慢慢来
管芯上面滴了胶,应该是硅胶,软的
有些铜箔需要划断
动刀的地方基本上完工了 楼下继续 继续,需要连接和添加零件 ![]() ![]() ![]() ![]() 好了,盖好盖子 ![]() ![]() ![]() ![]() 东拼西凑的电源,+ - 35 V,先上电测试正常否 ![]() ![]() 因为PN结的互相牵制,中点电压很稳定。由于管子的差异性,要在基极串入小电阻 楼下继续 电流放大好了,搭建胆管前把音源找好 ![]() 也是10多年前买的健伍MD,MD碟片用的是磁光碟,激光加热碟片内的磁介质, 使其复原(抹音),后面紧跟磁头写入磁信号,然后冷却磁介质就保持(录音) 对小日本的创新能力不敢不佩服 ![]() ![]() 6N3,便宜货,胆机供电用的变压器二次升压,测试就这样了 ![]() ![]() 取了一个音箱来测试 放了一首二胡的音乐,老婆在看电视听到后说很好听,真是莫大的鼓励啊 ![]() 未完、继续 还继续测试了下6J4,6P9P, ![]() 由于温度高,得风扇伺候 ![]() ![]() 总结一下经验:输出管放大倍数偏低,使得基极电阻不能太大,这样静态电流就比较大, 内阻也变小了,小功率的胆管驱动不够,建议用下图 ![]() 这样可以把俺接在外面的两个电阻也集成到里面,俺没有块子测试了 下期预告:一个废气管的新生路 ![]() (责任编辑:admin) |














































