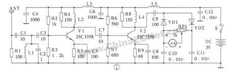
| 跟着移动通讯的敏捷遍及,移动电话手机的维修题目日显突出。在维修手机进程中,调试发射电路经常要用高频示波器、频谱说明仪等仪器。对付业余喜爱者来说,配备这些仪器较量坚苦。在大大都环境下,对发射功率和频率不必要作准确的丈量,只必要作一些定性的预计。本文先容一种手机场强仪,它可用来调试手机发射电路。该场强仪布局简朴,行使利便,本钱低廉。 电路事变道理 我国现阶段的移动通讯体系大部门为900MHz模仿或数字体系,对应手机的发射频率为900MHz阁下,如GSM体系手机的发射频率在890~915MHz范畴内。我们可以对这一频段的发射信号吸取后举办放大、高泼魅整流,获得直流电压信号,然后通过表头来指示。移动电话手机场强仪就是按照这一道理计划制作的。  移动电话手机场强仪电路见图1。它由输入回路、高频放大电路、高泼魅整流电路和输出指示等部门构成。由天线ANT吸取到的载波高频信号送到由C1、L1、C2、C3等构成的带通滤波器滤波,滤波器的中心频率首要由L1、C2的值抉择,这里定为900MHz。滤波后的高频信号由V1、V2等构成的两级共发射极高频放大电路举办放大,V1、V2集电极的电感L2、L4一方面作高频赔偿用,另一方面提供直畅通路,以进步V1、V2的集电极事变电压。 
 
 元器件选择和安装调试 V1、V2选用fT>4GHz的三极管,如2SC3358、BRF91等。VD1、VD2要用正向压降小、事变频率高的二极管,可由混频二极管1SS86可能1SS106来代用。电容器C1~C9要选用高频瓷介电容器。电感器L1~L5选用单层脱胎线圈,绕制参数见附表。天线应谐振于1/4波长,经计较中苦衷情频率为900MHz的天线长度约为8cm。 场强仪的印刷电路图见图2。装配时,将V1、V2直接焊接在铜箔面,别的元件均装在正面。元件引脚应只管短,让元件只管贴近电路板。安装完毕后即可举办调试。因为偏流电路中加了直流负反馈电路,因此不消调试即可到达预定的直流事变电流:IC1=6mA,IC2=10mA。 
 
 在正常环境下,当手机处于发射状态时,将场强仪靠近手机,当间隔小于50cm时表头即开始有回响。如场强仪迅速度偏低,则可恰当增进R4、R8的阻值,但以不引起自激为限。 必要声名的是,手机的发射功率巨细受到基站反馈的功率级别信号的节制,因此统一手机在差异所在的发射功率是纷歧致的,行使场强仪时应留意这一点。 (责任编辑:admin) | 




















