|
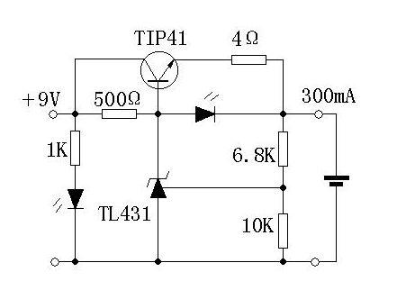
廉价一个简质朴用的锂电池充电器
(责任编辑:admin) |
|
廉价一个简质朴用的锂电池充电器
(责任编辑:admin) |
笔记本电脑报废之后,其电源往往依然完好。但是,由于它们已经没有用武之地,人们大多...
转眼间又4个月没发帖,感觉自己变潜水艇啦 对于高三党来说,放完这次寒假,下次回校才...
上回修效果器说到,很长时间没发帖子了,原因很简单,因为本人经常出差,没有时间啊!...
小米2成功改造无线充电 废话就不多说了大家还是看片吧! 先来张成功改造的小米2 拆机...
今天 天气热 ,下午休息,把前几天到的升压板替换老爸给买的移动电源上,哈哈忙了一下...
貌似最近做移动电源的不少. 前段时间我也做了个,只是比较忙没什么时间编辑, 又是迟来...
diy手工制作一个iPod应急充电电
更新:2013-01-14
DIY iPhone iPod 太阳能充电器的
更新:2014-06-17
用TP4056打造精准充电的万能充
更新:2017-06-20
diy简单易作的自动充电器
更新:2013-01-04