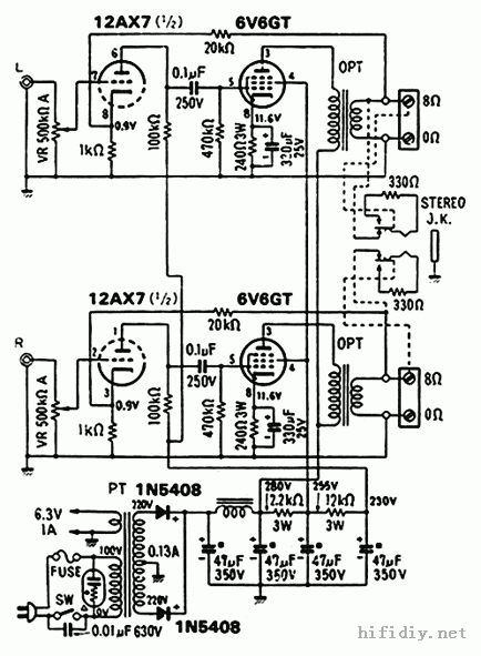
![]() 这段时间忙乎的6P6P单端,献丑了,请各位朋友指点。。。。。。 去年6月计划做的,实际是8月开工的,中间不停的出差,好不容易呆在公司,又缺东少西的,直到今天,才算正式完工。。。。 ![]() 电路是12AX7+6P6P单端,上海定做的木机壳,安装面是镜面不锈钢。 电路图: ![]() ![]() 内部走线,放大管灯丝用的是单芯铜线,1.1MM的,是以前的老式电话线,绝对纯铜的,现在的电话线细的。。。。哎。。。 5Z4P整流管灯丝用的是2.5MM的工业电线,机内走线均为1.1MM的单芯铜线 应该是老式电话线的主线,有个白色的外皮,不软不硬的那种,里面就是图片上的红色,白色的线芯,里面的铜芯直径是1.1MM的,说起来还是同事在窗户外面偷偷剪的一点。。。 说起木框外壳,不知道是个什么木头,电钻在上面钻孔,钻头很发热,还断了两只2.5的钻头,是我目前见到最硬的木头,而且很沉 镜面不锈钢是在安徽定做的,冲床冲的方孔,还有管座孔,其他的小孔是我自己开的,开始用手电钻,断了两只高速钢钻头,结果是一个孔也没钻好,不得已只好带公司去用台钻解决的,钻不锈钢很磨损钻头,进口高速钢钻头一口气开了8个孔,就要重新磨钻头了 ![]() 目前,胆机没有一丁点噪音。。。。 开始调的时候,没接6P6的阴极电容,电位器外壳也没接地,电源只用两脚接地没用,外壳也没接地,大音量不接信号时有点点噪音 后面,逐将电位器外壳、胆机不锈钢面接地,噪音立即消失了,AC电源地接好后,是完全无噪音 然后接好阴极电容和负反馈电阻,机器调试完成了 近看效果 ![]() 因为吕公的电源牛,灯丝中心已经与外壳连在一起,所以灯丝不用接地,直接将不锈钢接地就好了。 胆机的后面,用的是CMC接插件 ![]() 效果自认为满意的,当然,我也不停的吵吕公了。。。。。。 音源是天龙CD 原机芯坏了,我换了个新的机芯和光头 ![]()
我的两个音源 ![]() 还搞了个PCM63解码 ![]() 睡觉了,现在终于可以好好听歌了~~~~~~~~~~ 不能发帖了,一小时只能发3贴。。。。。晕 回复 11# tuanjie 本来是有两对6P6P的,在装机时候,发现一对中的一只严重老化,另一对中的一只是坏的,奇怪的是灯丝是通的但是点不亮~~~~~~~ 箱子DIY惠威的,SS6.5和SD1.1A (责任编辑:admin) |





































