|
传统的电子捕鼠器体积大、重量沉,需要长时间与市电连接,不便于野外使用,加之老鼠对电磁场较为敏感,捕鼠效果往往不理想。鉴于以上不足,笔者设计了一款实用高效的捕鼠器电路,该电路捕鼠效果好、体积小、重量轻、耗电低(只有当老鼠触碰导线时电路才工作),并具声光指示等优点。该电路可采用蓄电池或容量稍大些的可充电池供电,即使在无市电或野外场所也可照常使用,且电路简单易制。 一、工作原理 电路见图1。整个捕鼠器由升压电路和控制电路组成。平时,A、B两端电阻为无穷大,当老鼠触碰导线A、B两端时电阻变小,控制电路由截止状态变为导通状态,继电器吸合,升压电路中的振荡电路工作,使L3上产生1000V~1500V左右的高压,再经VD1、VD2整流后输出,将老鼠击毙(VD3、VD4起隔离作用,防止高压损坏控制电路中的元件),同时讯响器和发光二极管LED1~LED3也接通。
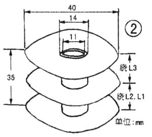
二、自制方法 振荡变压器T可采用黑白电视机的行输出变压器磁芯绕制。加热后先将原线圈、骨架拆除,然后自制骨架。骨架可由绕制收音机中波天线线圈的内径11mm的塑料圆管和三片内径14mm、外径40mm的圆形塑料片用胶水粘在一起制成(如图2),骨架做好后即可绕线。12用Φ0.25mm的漆包线在骨架上密绕25圈,加一层青壳纸后再绕L1,L1用伞0.39mm漆包线绕60圈引出,D用中0.15mm漆包线密绕2000圈,找出各绕组同名端分别固定,然后在线圈上浸上一层绝缘漆以增强其绝缘强度。为防止磁饱和,应将磁芯留一点磁隙,再扣上磁芯,用胶水固定即可。V1可采用β值稍大些的普通塑封大功率三极管,如3DD15、BU406等。 三、调试 不接控制电路和整流二极管,先将A、B两点接一日光灯管.然后接通电源。此时应能听到变压器的轻微振荡声。将一只2kΩ的固定电阻和一只2kΩ可调电阻串联后接于R2处,调整可调电阻,当把灯管点至最亮时,测出其阻值后找一合适电阻焊于R2处即可。如接通电源后电路不工作,可改变L2同名端,然后将控制电路接上,用一只100kΩ电阻接于A、B处,接通电源后控制继电器J如吸合,则讯响器应发出声音,LED1-LED3应发光。电路调试完毕即可使用。 A导线可用裸铜线代用。为吸引老鼠也可在铜线上挂些诱饵。B可接于铁板或潮湿的地面。为增加导电性也可在地上洒些盐水。将导线置于老鼠经常出没的地方,当有老鼠触碰铜线时控制电路工作,接通升压电路,将老鼠击毙,讯响器发音通知尽快将老鼠尸体移去。如捕鼠场所与住处较远,可以用市售遥控组件改制,使其以无线发射的形式通知有老鼠被击毙。
|

















