最好的电子音响科技diy制作网站

haoDIY_音响电子电脑科技DIY小制作发明

当前位置: 主页 > 电子DIY > 综合DIY >

美国愤青DIY的武器,电磁炮套件制作

时间:2016-07-09 20:34来源:未知 作者:admin 点击:
高斯 GP-219 电磁无声手枪 A、8只AA镍镉电池,额定电压9.6V B、直流/直流转换器单元 电池充电电路 电容器组充电电路 稳压5 VDC输出 20伏直流输出 激光模块的电源 温度传感器 C、能量存储单元 1、450 VDC,1620 uF的电容器组 2、450 VDC,540 uF的电容器组 3

高斯 GP-219 电磁无声手枪

美国愤青DIY的武器,电磁炮套件制作

A、8只AA镍镉电池,额定电压9.6V

B、直流/直流转换器单元 
       电池充电电路 
       电容器组充电电路 
       稳压5 VDC输出 
       20伏直流输出 
       激光模块的电源 
       温度传感器

C、能量存储单元 
      1、450 VDC,1620 uF的电容器组 
      2、450 VDC,540 uF的电容器组 
      3、2组并联的IGBT电路,每对IGBT控制一个线圈发射

D、控制单元 
       PIC16LF819单片机控制手枪功能,具备:
      十位LED数码管显示弹量、电量不足等故障 
E、传感器单元 
       两个红外反射传感器检测存的弹丸

F,G、线圈 
     两个硬化螺线管线圈,外面包裹金属以提高磁链

单片机I/O口功能

模拟输入:温度的高低、 电池电压、电容器组的电压水平、外部(电池充电电源)电压等级 

数字输入:弹丸检测传感器1、弹丸检测传感器2 

数字输出:发射线圈1控制1、发射线圈2控制、 电池充电控制 、 “准备就绪”LED指示灯、“电池”LED指示灯、“故障”LED指示灯

  这似乎是一个科幻玩具,但实际上它是一个功能齐全的电磁手枪。 

  结合各部件,由单片机控制功能。 

  由8组镍镉电池供电,两个线圈正脉冲序列( 350安培峰值),发射一枚钢弹。 

  红外线传感器探测弹丸数量,由后面的LED显示弹量和电力不足等故障。 

  这枪‘酷‘的因素是,你能在激光指示下射击目标目标靶,没有造成任何声音。

美国愤青DIY的武器,电磁炮套件制作

 

美国愤青DIY的武器,电磁炮套件制作
美国愤青DIY的武器,电磁炮套件制作
美国愤青DIY的武器,电磁炮套件制作
美国愤青DIY的武器,电磁炮套件制作
美国愤青DIY的武器,电磁炮套件制作

继续上图                                                                                     

美国愤青DIY的武器,电磁炮套件制作
美国愤青DIY的武器,电磁炮套件制作
美国愤青DIY的武器,电磁炮套件制作
美国愤青DIY的武器,电磁炮套件制作
这个就是发射线圈和枪管啦

美国的愤愤就是有钱,DIY还能整这么漂亮,看了让人流口水

美国愤青DIY的武器,电磁炮套件制作
美国愤青DIY的武器,电磁炮套件制作
美国愤青DIY的武器,电磁炮套件制作
美国愤青DIY的武器,电磁炮套件制作
美国愤青DIY的武器,电磁炮套件制作

别急,图还没上完                                                                                   

美国愤青DIY的武器,电磁炮套件制作
美国愤青DIY的武器,电磁炮套件制作
美国愤青DIY的武器,电磁炮套件制作
美国愤青DIY的武器,电磁炮套件制作
这个就是发射的子弹,制作简单,取材方便,更重要的是发射时无烟、无响声、也可以无光,你懂得。。。。。。。。。

继续                                                                               

美国愤青DIY的武器,电磁炮套件制作
美国愤青DIY的武器,电磁炮套件制作

美国愤青DIY的武器,电磁炮套件制作
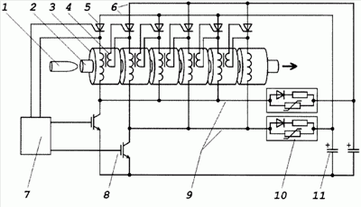
电磁发射技术,入门级可以做简单的单级发射,但效率不高,下面给一张网上流传的原理图,能说明基本的发射原理
美国愤青DIY的武器,电磁炮套件制作
注意,上图中有一处错误,SCR驱动电源B1的极性反了

发射技术的关键在于脉冲电流的持续时间,持续时间我认为以弹体中点和线圈中点接近重合时结束为好。如果持续时间过短,弹体没有得到做够的动能,持续时间过长,弹体中点超过线圈中点后线圈会对弹体产生向后的制动力。所以单级发射线圈的电感量和电容的容量配合很重要,并且和弹体的长度及弹体初始位置和线圈之间的距离都有关系。单级发射只能做个演示模型,效率不会做得高。

多级加速的化理论上弹体出口速度能做得很高,据说有人做到5000M/S!但控制很复杂,像上面的这个美国佬的东西就用了两级加速,并且在发射管上安装了两组红外线传感器检测通过的弹体,并将信号给单片机,单片机接收到弹体位置信号并处理延时时间来控制发射线圈的通断。可以通过不断的实验、测试分析线圈最佳的通断时间,这个东西做出来简单,但要最好并不容易。可以说是既有趣味性,又有实用性。。。。
 

美国愤青DIY的武器,电磁炮套件制作
美国愤青DIY的武器,电磁炮套件制作
美国愤青DIY的武器,电磁炮套件制作

以上图片可能不是出自同一地方
 

来张完整的,但是另外一个作品的图,不是顶楼的那个。顶楼那个,美国佬要卖钱的,他把资料做成了CD-ROM要买40美刀呢!

美国愤青DIY的武器,电磁炮套件制作

 

(责任编辑:admin)
织梦二维码生成器
顶一下
(19)
100%
踩一下
(0)
0%
相关文章
------分隔线----------------------------
发表评论
请自觉遵守互联网相关的政策法规,严禁发布色情、暴力、反动的言论。
评价:
表情:
用户名: 验证码:点击我更换图片
栏目列表
推荐内容