|
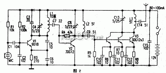
本电路分为振荡、倍频、功率放大三级。电路中V1、C2--C6、R2、R3及L1构成电容三点式振荡器,其振荡频率首要由C3、C4和L1的参数抉择,其振荡频率为44~54MHz,该信号从L1的中心抽头处输出,再颠末C7耦合至V2放大,由C8和L2选出44~54MHz的二倍频信号,即88-108MHz,,此信号由C9耦合至V3举办功率放大,V3由3只3DGl2三极管并联构成,可扩大输出功率。该电路正常事变时,电流约80-100mA。构成V3的三只3DG12可加上恰当的散热片,以防过热。建造时L1~L3用0.31mm漆包线在直径3.5mm圆棒上单层平绕。
|























