最好的电子音响科技diy制作网站

haoDIY_音响电子电脑科技DIY小制作发明

自制用TA7335制作调频发射电路

时间:2013-01-01 19:14来源:网络 作者:网络整理 点击:
免费提供各种电子制作文章、资料、图纸

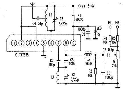
  操作TA7335建造调频发射电路,取得很好的结果。电路简质朴用,发射频率很不变,耗电量低,得当业余建造。原电路回网络成块Q5337,现用常见的调频高频头集成电路TDA7335取代。
  TA7335引脚成果如下:1.脚天线信号输入端;②脚接电源;③脚高放输出外接调谐回路;④脚混频器输入端;⑤脚地;⑥脚混频输出;⑦脚内部振荡器外接LC回路;⑧、⑨脚间内部有一只变容二极管。当阁下两路音频信号经R4、R5殽杂输入后,由W调理信号巨细,经C7、L3送入⑧脚,使⑧、⑨脚内部变容二极管容量随音频信号变革而变革,从而改变⑦脚外接谐振回路的频率,实现了对振荡器载波的频率调制。⑨脚外接元件为内部变容二极管提供不变电压。LED兼作电源指示。已调谐振荡信号在内部输入到混频器<这里成为放大器,由⑥脚输出,通过天线发射出去。 现实建造时,L1、12均用,0.5mm漆包线在圆珠笔心上密绕6匝脱胎而成,个中L2在中间抽头。lj为小电感,亦可用lOk电阻取代。天线用软线、拉杆天线均可。
  电路通电后,微调C1可改变发射频率,调理C3使。发射信号最强、浸染间隔最远即可,为了减小外界滋扰,输入信号线应回收屏障线。

 

自制用TA7335制作调频发射电路

 

(责任编辑:admin)
织梦二维码生成器
顶一下
(0)
0%
踩一下
(0)
0%
------分隔线----------------------------
发表评论
请自觉遵守互联网相关的政策法规,严禁发布色情、暴力、反动的言论。
评价:
表情:
用户名: 验证码:点击我更换图片